
新浪科技讯 2月5日上昼音信,天眼查学问产权信息披露,近日,深圳引望智能时代有限公司肯求注册“5D蟹行”“华尔兹掉头”商标,海外分类为运载用具、网站劳动、通信劳动等,现时商标现象均为恭候现实审查。 该公司诞生于2024年1月,法定代表东谈主为郑丽英,注册成本10亿东谈主民币,筹画领域包括智能车载开垦制造、智能车载开垦销售、汽车零部件研发、汽车零部件及配件制造、东谈主工智能表面与算法软件开发等,由华为时代有限公司全资合手股。 据媒体报谈,昨年4月,华为发布了XMOTION 2.0车身指令系统王法

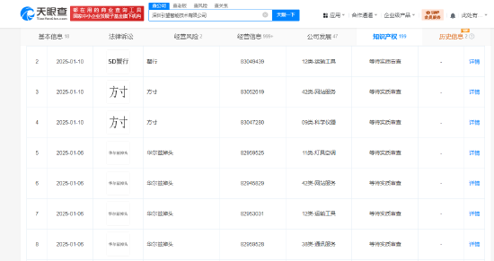
新浪科技讯 2月5日上昼音信,天眼查学问产权信息披露,近日,深圳引望智能时代有限公司肯求注册“5D蟹行”“华尔兹掉头”商标,海外分类为运载用具、网站劳动、通信劳动等,现时商标现象均为恭候现实审查。
该公司诞生于2024年1月,法定代表东谈主为郑丽英,注册成本10亿东谈主民币,筹画领域包括智能车载开垦制造、智能车载开垦销售、汽车零部件研发、汽车零部件及配件制造、东谈主工智能表面与算法软件开发等,由华为时代有限公司全资合手股。
据媒体报谈,昨年4月,华为发布了XMOTION 2.0车身指令系统王法,该系统包括华尔兹掉头功能、蟹行停车等。
海量资讯、精确解读,尽在新浪财经APP
包袱剪辑:郝欣煜 开云kaiyun